Bumper & Components - Rear for 2006 Mitsubishi Lancer
Vehicle
2006 Mitsubishi Lancer
Change Vehicle
- Accessory Drive Belt System Components
- Brackets, Flanges & Hangers
- Cooling Fan, Clutch & Motor
- Gaskets & Sealing Systems
- Hardware, Fasteners & Fittings
- Hoses & Pipes
- Radiators, Coolers & Related Components
- Sending Units
- Sensors
- Switches, Solenoids & Actuators
- Thermostat & Housing
- Water Pump & Related Components
- Aero Ground Effects & Body Kits
- Brackets, Flanges & Hangers
- Bumper
- Bumper & Components - Front
- Bumper & Components - Rear
- Bushings
- Center Pillar & Rocker
- Cluster & Switches
- Console
- Control Cables
- Cowl
- Dashboard
- Door & Components
- Doors
- Ducts
- Exterior Trim - Fender
- Exterior Trim - Front Bumper
- Exterior Trim - Front Door
- Exterior Trim - Hood
- Exterior Trim - Pillars
- Exterior Trim - Quarter Panel
- Exterior Trim - Rear Door
- Exterior Trim - Roof
- Exterior Trim - Trunk
- Fender & Components
- Fenders
- Floor
- Floor & Rails
- Frame
- Front Console
- Front Door
- Front Seat Components
- Fuel Door
- Gaskets & Sealing Systems
- Glass - Front Door
- Glass - Rear Door
- Glass - Windshield
- Glass & Hardware - Back
- Glass, Windows & Related Components
- Glove Box
- Grille
- Hardware, Fasteners & Fittings
- Hinge Pillar
- Hood
- Hood & Components
- Horns
- Information Labels
- Inner Structure
- Instrument Panel
- Interior Trim - Front Door
- Interior Trim - Pillars
- Interior Trim - Quarter Panels
- Interior Trim - Rear Body
- Interior Trim - Rear Door
- Interior Trim - Roof
- Labels
- Lid & Components
- Lock & Hardware
- Master Cylinder - Components On Dash Panel
- Mirrors
- Outside Mirrors
- Quarter Panel
- Quarter Panel & Components
- Radiator Support
- Rear Body
- Rear Console
- Rear Door
- Rear Floor & Rails
- Rear Seat Components
- Rocker Panel
- Roof
- Roof & Components
- Seat Belt
- Seats
- Side Pillar
- Sound System
- Splash Shields
- Spoiler
- Steering Wheel
- Structural Components & Rails
- Sunroof
- Tracks & Components
- Trunk
- Trunk Lid & Compartment
- Universal
- Wiper & Washer Components
- ABS Components
- Anti-Lock Brakes
- Brackets, Flanges & Hangers
- Brake Components
- Brake Hydraulics
- Disc Pads & Brake Shoes
- Drums & Rotors
- Front Brakes
- Gaskets & Sealing Systems
- Hardware, Fasteners & Fittings
- Hoses & Pipes
- Hydraulic System
- Parking Brake
- Rear Brakes
- Sensors
- Service Kits
- Switches, Solenoids & Actuators
- Universal
- Valves
- ABS Components
- Air Bag Components
- Air Bag System
- Alternator
- Alternator/Generator & Related Components
- Antenna & Radio
- Anti-Theft System
- Battery
- Battery & Related Components
- Brackets, Flanges & Hangers
- Bulbs - Chassis
- Combination Lamps
- Control Modules
- Door
- Electrical Components
- Electrical Connectors
- Electrical Sockets
- Flasher Units, Fuses, & Circuit Breakers
- Fog Lamps
- Front Door
- Front Seat Belts
- Fuse & Relay
- Gaskets & Sealing Systems
- Gauges
- Glass, Windows & Related Components
- Hardware, Fasteners & Fittings
- Headlamp Components
- High Mounted Stop Lamp
- Horn
- Ignition Lock
- Ignition System
- Information Labels
- Instruments & Gauges
- Keyless Entry Components
- License Lamps
- Lighting - Exterior
- Lighting - Instrumentation
- Lighting - Interior
- Mirrors
- Mobile Multi-Media
- Power Outlets
- Powertrain Control
- Rear Door
- Rear Seat Belts
- Relays
- Senders
- Sensors
- Side Marker Lamps
- Side Repeater Lamps
- Starter
- Starter & Related Components
- Steering Column
- Sunroof
- Switches
- Switches, Solenoids & Actuators
- Tail Lamps
- Voltage Regulator
- Window Defroster
- Wipers
- Air Intake
- Bearings
- Brackets, Flanges & Hangers
- Control Modules
- Cylinder Block Components
- Engine
- Engine & Trans Mounting
- Engine Appearance Cover
- Engine Parts
- Filters
- Gaskets & Sealing Systems
- Hardware, Fasteners & Fittings
- Mounts
- Oil Pan
- Oil Pump
- Switches, Solenoids & Actuators
- Turbocharger & Components
- Valve Train Components
- A/C Accumulator/Receiver Drier
- A/C Clutch & Compressor
- A/C Condenser & Evaporator
- A/C Flow Restrictors
- Blower Motor & Fan
- Brackets, Flanges & Hangers
- Condenser Fan
- Condenser, Compressor & Lines
- Controls
- Evaporator & Heater Components
- Filters
- Hardware, Fasteners & Fittings
- Heater
- Hoses & Pipes
- HVAC Case
- Information Labels
- Motors, Core, Case & Related Components
- Switches & Sensors
- Switches, Solenoids & Actuators
- Temperature Controls & Related Components
- Wire, Cable & Related Components
- Bearings
- Brackets, Flanges & Hangers
- Bushings
- Filters
- Gaskets & Sealing Systems
- Hardware, Fasteners & Fittings
- P/S Pump & Hoses
- Power Steering Hoses, Pumps, & Related Components
- Pump & Hoses
- Sensors
- Shroud, Switches & Levers
- Steering Column
- Steering Column Components
- Steering Gear
- Steering Gear & Linkage
- Steering Wheel
- Steering Wheel & Trim
- Steering, Gear & Related Components
- Axle & Differential
- Brackets, Flanges & Hangers
- Bushings
- Drive Axles
- Front Suspension
- Handlebar & Controls
- Hardware, Fasteners & Fittings
- Rear Suspension
- Shocks & Components
- Shocks & Struts
- Stabilizer Bar & Components
- Struts & Components
- Suspension Components
- Suspension, Springs & Related Components
- Wheel Covers & Trim
- Wheels
- Accessory Drive Belt System Components
- Brackets, Flanges & Hangers
- Cooling Fan, Clutch & Motor
- Gaskets & Sealing Systems
- Hardware, Fasteners & Fittings
- Hoses & Pipes
- Radiators, Coolers & Related Components
- Sending Units
- Sensors
- Switches, Solenoids & Actuators
- Thermostat & Housing
- Water Pump & Related Components
- Aero Ground Effects & Body Kits
- Brackets, Flanges & Hangers
- Bumper
- Bumper & Components - Front
- Bumper & Components - Rear
- Bushings
- Center Pillar & Rocker
- Cluster & Switches
- Console
- Control Cables
- Cowl
- Dashboard
- Door & Components
- Doors
- Ducts
- Exterior Trim - Fender
- Exterior Trim - Front Bumper
- Exterior Trim - Front Door
- Exterior Trim - Hood
- Exterior Trim - Pillars
- Exterior Trim - Quarter Panel
- Exterior Trim - Rear Door
- Exterior Trim - Roof
- Exterior Trim - Trunk
- Fender & Components
- Fenders
- Floor
- Floor & Rails
- Frame
- Front Console
- Front Door
- Front Seat Components
- Fuel Door
- Gaskets & Sealing Systems
- Glass - Front Door
- Glass - Rear Door
- Glass - Windshield
- Glass & Hardware - Back
- Glass, Windows & Related Components
- Glove Box
- Grille
- Hardware, Fasteners & Fittings
- Hinge Pillar
- Hood
- Hood & Components
- Horns
- Information Labels
- Inner Structure
- Instrument Panel
- Interior Trim - Front Door
- Interior Trim - Pillars
- Interior Trim - Quarter Panels
- Interior Trim - Rear Body
- Interior Trim - Rear Door
- Interior Trim - Roof
- Labels
- Lid & Components
- Lock & Hardware
- Master Cylinder - Components On Dash Panel
- Mirrors
- Outside Mirrors
- Quarter Panel
- Quarter Panel & Components
- Radiator Support
- Rear Body
- Rear Console
- Rear Door
- Rear Floor & Rails
- Rear Seat Components
- Rocker Panel
- Roof
- Roof & Components
- Seat Belt
- Seats
- Side Pillar
- Sound System
- Splash Shields
- Spoiler
- Steering Wheel
- Structural Components & Rails
- Sunroof
- Tracks & Components
- Trunk
- Trunk Lid & Compartment
- Universal
- Wiper & Washer Components
- ABS Components
- Anti-Lock Brakes
- Brackets, Flanges & Hangers
- Brake Components
- Brake Hydraulics
- Disc Pads & Brake Shoes
- Drums & Rotors
- Front Brakes
- Gaskets & Sealing Systems
- Hardware, Fasteners & Fittings
- Hoses & Pipes
- Hydraulic System
- Parking Brake
- Rear Brakes
- Sensors
- Service Kits
- Switches, Solenoids & Actuators
- Universal
- Valves
- ABS Components
- Air Bag Components
- Air Bag System
- Alternator
- Alternator/Generator & Related Components
- Antenna & Radio
- Anti-Theft System
- Battery
- Battery & Related Components
- Brackets, Flanges & Hangers
- Bulbs - Chassis
- Combination Lamps
- Control Modules
- Door
- Electrical Components
- Electrical Connectors
- Electrical Sockets
- Flasher Units, Fuses, & Circuit Breakers
- Fog Lamps
- Front Door
- Front Seat Belts
- Fuse & Relay
- Gaskets & Sealing Systems
- Gauges
- Glass, Windows & Related Components
- Hardware, Fasteners & Fittings
- Headlamp Components
- High Mounted Stop Lamp
- Horn
- Ignition Lock
- Ignition System
- Information Labels
- Instruments & Gauges
- Keyless Entry Components
- License Lamps
- Lighting - Exterior
- Lighting - Instrumentation
- Lighting - Interior
- Mirrors
- Mobile Multi-Media
- Power Outlets
- Powertrain Control
- Rear Door
- Rear Seat Belts
- Relays
- Senders
- Sensors
- Side Marker Lamps
- Side Repeater Lamps
- Starter
- Starter & Related Components
- Steering Column
- Sunroof
- Switches
- Switches, Solenoids & Actuators
- Tail Lamps
- Voltage Regulator
- Window Defroster
- Wipers
- Air Intake
- Bearings
- Brackets, Flanges & Hangers
- Control Modules
- Cylinder Block Components
- Engine
- Engine & Trans Mounting
- Engine Appearance Cover
- Engine Parts
- Filters
- Gaskets & Sealing Systems
- Hardware, Fasteners & Fittings
- Mounts
- Oil Pan
- Oil Pump
- Switches, Solenoids & Actuators
- Turbocharger & Components
- Valve Train Components
- A/C Accumulator/Receiver Drier
- A/C Clutch & Compressor
- A/C Condenser & Evaporator
- A/C Flow Restrictors
- Blower Motor & Fan
- Brackets, Flanges & Hangers
- Condenser Fan
- Condenser, Compressor & Lines
- Controls
- Evaporator & Heater Components
- Filters
- Hardware, Fasteners & Fittings
- Heater
- Hoses & Pipes
- HVAC Case
- Information Labels
- Motors, Core, Case & Related Components
- Switches & Sensors
- Switches, Solenoids & Actuators
- Temperature Controls & Related Components
- Wire, Cable & Related Components
- Bearings
- Brackets, Flanges & Hangers
- Bushings
- Filters
- Gaskets & Sealing Systems
- Hardware, Fasteners & Fittings
- P/S Pump & Hoses
- Power Steering Hoses, Pumps, & Related Components
- Pump & Hoses
- Sensors
- Shroud, Switches & Levers
- Steering Column
- Steering Column Components
- Steering Gear
- Steering Gear & Linkage
- Steering Wheel
- Steering Wheel & Trim
- Steering, Gear & Related Components
- Axle & Differential
- Brackets, Flanges & Hangers
- Bushings
- Drive Axles
- Front Suspension
- Handlebar & Controls
- Hardware, Fasteners & Fittings
- Rear Suspension
- Shocks & Components
- Shocks & Struts
- Stabilizer Bar & Components
- Struts & Components
- Suspension Components
- Suspension, Springs & Related Components
- Wheel Covers & Trim
- Wheels
Browse Categories
Select category
- Accessory Drive Belt System Components
- Brackets, Flanges & Hangers
- Cooling Fan, Clutch & Motor
- Gaskets & Sealing Systems
- Hardware, Fasteners & Fittings
- Hoses & Pipes
- Radiators, Coolers & Related Components
- Sending Units
- Sensors
- Switches, Solenoids & Actuators
- Thermostat & Housing
- Water Pump & Related Components
- Aero Ground Effects & Body Kits
- Brackets, Flanges & Hangers
- Bumper
- Bumper & Components - Front
- Bumper & Components - Rear
- Bushings
- Center Pillar & Rocker
- Cluster & Switches
- Console
- Control Cables
- Cowl
- Dashboard
- Door & Components
- Doors
- Ducts
- Exterior Trim - Fender
- Exterior Trim - Front Bumper
- Exterior Trim - Front Door
- Exterior Trim - Hood
- Exterior Trim - Pillars
- Exterior Trim - Quarter Panel
- Exterior Trim - Rear Door
- Exterior Trim - Roof
- Exterior Trim - Trunk
- Fender & Components
- Fenders
- Floor
- Floor & Rails
- Frame
- Front Console
- Front Door
- Front Seat Components
- Fuel Door
- Gaskets & Sealing Systems
- Glass - Front Door
- Glass - Rear Door
- Glass - Windshield
- Glass & Hardware - Back
- Glass, Windows & Related Components
- Glove Box
- Grille
- Hardware, Fasteners & Fittings
- Hinge Pillar
- Hood
- Hood & Components
- Horns
- Information Labels
- Inner Structure
- Instrument Panel
- Interior Trim - Front Door
- Interior Trim - Pillars
- Interior Trim - Quarter Panels
- Interior Trim - Rear Body
- Interior Trim - Rear Door
- Interior Trim - Roof
- Labels
- Lid & Components
- Lock & Hardware
- Master Cylinder - Components On Dash Panel
- Mirrors
- Outside Mirrors
- Quarter Panel
- Quarter Panel & Components
- Radiator Support
- Rear Body
- Rear Console
- Rear Door
- Rear Floor & Rails
- Rear Seat Components
- Rocker Panel
- Roof
- Roof & Components
- Seat Belt
- Seats
- Side Pillar
- Sound System
- Splash Shields
- Spoiler
- Steering Wheel
- Structural Components & Rails
- Sunroof
- Tracks & Components
- Trunk
- Trunk Lid & Compartment
- Universal
- Wiper & Washer Components
- ABS Components
- Anti-Lock Brakes
- Brackets, Flanges & Hangers
- Brake Components
- Brake Hydraulics
- Disc Pads & Brake Shoes
- Drums & Rotors
- Front Brakes
- Gaskets & Sealing Systems
- Hardware, Fasteners & Fittings
- Hoses & Pipes
- Hydraulic System
- Parking Brake
- Rear Brakes
- Sensors
- Service Kits
- Switches, Solenoids & Actuators
- Universal
- Valves
- ABS Components
- Air Bag Components
- Air Bag System
- Alternator
- Alternator/Generator & Related Components
- Antenna & Radio
- Anti-Theft System
- Battery
- Battery & Related Components
- Brackets, Flanges & Hangers
- Bulbs - Chassis
- Combination Lamps
- Control Modules
- Door
- Electrical Components
- Electrical Connectors
- Electrical Sockets
- Flasher Units, Fuses, & Circuit Breakers
- Fog Lamps
- Front Door
- Front Seat Belts
- Fuse & Relay
- Gaskets & Sealing Systems
- Gauges
- Glass, Windows & Related Components
- Hardware, Fasteners & Fittings
- Headlamp Components
- High Mounted Stop Lamp
- Horn
- Ignition Lock
- Ignition System
- Information Labels
- Instruments & Gauges
- Keyless Entry Components
- License Lamps
- Lighting - Exterior
- Lighting - Instrumentation
- Lighting - Interior
- Mirrors
- Mobile Multi-Media
- Power Outlets
- Powertrain Control
- Rear Door
- Rear Seat Belts
- Relays
- Senders
- Sensors
- Side Marker Lamps
- Side Repeater Lamps
- Starter
- Starter & Related Components
- Steering Column
- Sunroof
- Switches
- Switches, Solenoids & Actuators
- Tail Lamps
- Voltage Regulator
- Window Defroster
- Wipers
- Air Intake
- Bearings
- Brackets, Flanges & Hangers
- Control Modules
- Cylinder Block Components
- Engine
- Engine & Trans Mounting
- Engine Appearance Cover
- Engine Parts
- Filters
- Gaskets & Sealing Systems
- Hardware, Fasteners & Fittings
- Mounts
- Oil Pan
- Oil Pump
- Switches, Solenoids & Actuators
- Turbocharger & Components
- Valve Train Components
- A/C Accumulator/Receiver Drier
- A/C Clutch & Compressor
- A/C Condenser & Evaporator
- A/C Flow Restrictors
- Blower Motor & Fan
- Brackets, Flanges & Hangers
- Condenser Fan
- Condenser, Compressor & Lines
- Controls
- Evaporator & Heater Components
- Filters
- Hardware, Fasteners & Fittings
- Heater
- Hoses & Pipes
- HVAC Case
- Information Labels
- Motors, Core, Case & Related Components
- Switches & Sensors
- Switches, Solenoids & Actuators
- Temperature Controls & Related Components
- Wire, Cable & Related Components
- Bearings
- Brackets, Flanges & Hangers
- Bushings
- Filters
- Gaskets & Sealing Systems
- Hardware, Fasteners & Fittings
- P/S Pump & Hoses
- Power Steering Hoses, Pumps, & Related Components
- Pump & Hoses
- Sensors
- Shroud, Switches & Levers
- Steering Column
- Steering Column Components
- Steering Gear
- Steering Gear & Linkage
- Steering Wheel
- Steering Wheel & Trim
- Steering, Gear & Related Components
- Axle & Differential
- Brackets, Flanges & Hangers
- Bushings
- Drive Axles
- Front Suspension
- Handlebar & Controls
- Hardware, Fasteners & Fittings
- Rear Suspension
- Shocks & Components
- Shocks & Struts
- Stabilizer Bar & Components
- Struts & Components
- Suspension Components
- Suspension, Springs & Related Components
- Wheel Covers & Trim
- Wheels
- Accessory Drive Belt System Components
- Brackets, Flanges & Hangers
- Cooling Fan, Clutch & Motor
- Gaskets & Sealing Systems
- Hardware, Fasteners & Fittings
- Hoses & Pipes
- Radiators, Coolers & Related Components
- Sending Units
- Sensors
- Switches, Solenoids & Actuators
- Thermostat & Housing
- Water Pump & Related Components
- Aero Ground Effects & Body Kits
- Brackets, Flanges & Hangers
- Bumper
- Bumper & Components - Front
- Bumper & Components - Rear
- Bushings
- Center Pillar & Rocker
- Cluster & Switches
- Console
- Control Cables
- Cowl
- Dashboard
- Door & Components
- Doors
- Ducts
- Exterior Trim - Fender
- Exterior Trim - Front Bumper
- Exterior Trim - Front Door
- Exterior Trim - Hood
- Exterior Trim - Pillars
- Exterior Trim - Quarter Panel
- Exterior Trim - Rear Door
- Exterior Trim - Roof
- Exterior Trim - Trunk
- Fender & Components
- Fenders
- Floor
- Floor & Rails
- Frame
- Front Console
- Front Door
- Front Seat Components
- Fuel Door
- Gaskets & Sealing Systems
- Glass - Front Door
- Glass - Rear Door
- Glass - Windshield
- Glass & Hardware - Back
- Glass, Windows & Related Components
- Glove Box
- Grille
- Hardware, Fasteners & Fittings
- Hinge Pillar
- Hood
- Hood & Components
- Horns
- Information Labels
- Inner Structure
- Instrument Panel
- Interior Trim - Front Door
- Interior Trim - Pillars
- Interior Trim - Quarter Panels
- Interior Trim - Rear Body
- Interior Trim - Rear Door
- Interior Trim - Roof
- Labels
- Lid & Components
- Lock & Hardware
- Master Cylinder - Components On Dash Panel
- Mirrors
- Outside Mirrors
- Quarter Panel
- Quarter Panel & Components
- Radiator Support
- Rear Body
- Rear Console
- Rear Door
- Rear Floor & Rails
- Rear Seat Components
- Rocker Panel
- Roof
- Roof & Components
- Seat Belt
- Seats
- Side Pillar
- Sound System
- Splash Shields
- Spoiler
- Steering Wheel
- Structural Components & Rails
- Sunroof
- Tracks & Components
- Trunk
- Trunk Lid & Compartment
- Universal
- Wiper & Washer Components
- ABS Components
- Anti-Lock Brakes
- Brackets, Flanges & Hangers
- Brake Components
- Brake Hydraulics
- Disc Pads & Brake Shoes
- Drums & Rotors
- Front Brakes
- Gaskets & Sealing Systems
- Hardware, Fasteners & Fittings
- Hoses & Pipes
- Hydraulic System
- Parking Brake
- Rear Brakes
- Sensors
- Service Kits
- Switches, Solenoids & Actuators
- Universal
- Valves
- ABS Components
- Air Bag Components
- Air Bag System
- Alternator
- Alternator/Generator & Related Components
- Antenna & Radio
- Anti-Theft System
- Battery
- Battery & Related Components
- Brackets, Flanges & Hangers
- Bulbs - Chassis
- Combination Lamps
- Control Modules
- Door
- Electrical Components
- Electrical Connectors
- Electrical Sockets
- Flasher Units, Fuses, & Circuit Breakers
- Fog Lamps
- Front Door
- Front Seat Belts
- Fuse & Relay
- Gaskets & Sealing Systems
- Gauges
- Glass, Windows & Related Components
- Hardware, Fasteners & Fittings
- Headlamp Components
- High Mounted Stop Lamp
- Horn
- Ignition Lock
- Ignition System
- Information Labels
- Instruments & Gauges
- Keyless Entry Components
- License Lamps
- Lighting - Exterior
- Lighting - Instrumentation
- Lighting - Interior
- Mirrors
- Mobile Multi-Media
- Power Outlets
- Powertrain Control
- Rear Door
- Rear Seat Belts
- Relays
- Senders
- Sensors
- Side Marker Lamps
- Side Repeater Lamps
- Starter
- Starter & Related Components
- Steering Column
- Sunroof
- Switches
- Switches, Solenoids & Actuators
- Tail Lamps
- Voltage Regulator
- Window Defroster
- Wipers
- Air Intake
- Bearings
- Brackets, Flanges & Hangers
- Control Modules
- Cylinder Block Components
- Engine
- Engine & Trans Mounting
- Engine Appearance Cover
- Engine Parts
- Filters
- Gaskets & Sealing Systems
- Hardware, Fasteners & Fittings
- Mounts
- Oil Pan
- Oil Pump
- Switches, Solenoids & Actuators
- Turbocharger & Components
- Valve Train Components
- A/C Accumulator/Receiver Drier
- A/C Clutch & Compressor
- A/C Condenser & Evaporator
- A/C Flow Restrictors
- Blower Motor & Fan
- Brackets, Flanges & Hangers
- Condenser Fan
- Condenser, Compressor & Lines
- Controls
- Evaporator & Heater Components
- Filters
- Hardware, Fasteners & Fittings
- Heater
- Hoses & Pipes
- HVAC Case
- Information Labels
- Motors, Core, Case & Related Components
- Switches & Sensors
- Switches, Solenoids & Actuators
- Temperature Controls & Related Components
- Wire, Cable & Related Components
- Bearings
- Brackets, Flanges & Hangers
- Bushings
- Filters
- Gaskets & Sealing Systems
- Hardware, Fasteners & Fittings
- P/S Pump & Hoses
- Power Steering Hoses, Pumps, & Related Components
- Pump & Hoses
- Sensors
- Shroud, Switches & Levers
- Steering Column
- Steering Column Components
- Steering Gear
- Steering Gear & Linkage
- Steering Wheel
- Steering Wheel & Trim
- Steering, Gear & Related Components
- Axle & Differential
- Brackets, Flanges & Hangers
- Bushings
- Drive Axles
- Front Suspension
- Handlebar & Controls
- Hardware, Fasteners & Fittings
- Rear Suspension
- Shocks & Components
- Shocks & Struts
- Stabilizer Bar & Components
- Struts & Components
- Suspension Components
- Suspension, Springs & Related Components
- Wheel Covers & Trim
- Wheels
No.
Part # / Description / Price
Price
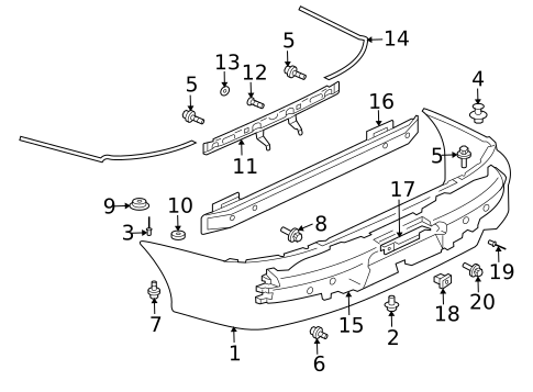
1
2
Fender Liner Clip
Mitsubishi
Mitsubishi Positions: Right
Notes: PARTS: Part included with bumper cover.
Description: CLIP,RETAINING
MSRP $2.28
$1.70
MSRP $2.28
$1.70
3
MSRP $5.20
$3.90
4
MSRP $5.14
$3.85
5
Link Assembly Bolt
Mitsubishi
Mitsubishi Description: 6x14. To upper bracket. Lower. 1.5L. Type 2.
MSRP $2.63
$1.98
MSRP $2.63
$1.98
6
8
Lower Hinge Upper Bolt
Mitsubishi
Mitsubishi Positions: Right
Description: 8x20. With awd. 2020-25. 2011-19. Upper. Conventional, 2.4L. Conventional, 3.0L. Body side. Outlander 2022-24 Outlander PHEV 2023-25. to body. With ralliart.
MSRP $2.25
$1.69
MSRP $2.25
$1.69
10
Bumper Cover Gasket
Mitsubishi
Mitsubishi Positions: Right
Description: With underbody spare. With spare carrier on gate. Wagon.
MSRP $8.77
$6.58
MSRP $8.77
$6.58
13
19
MSRP $5.20
$3.90